QF型气液分离器
一、设备的工作原理和特点
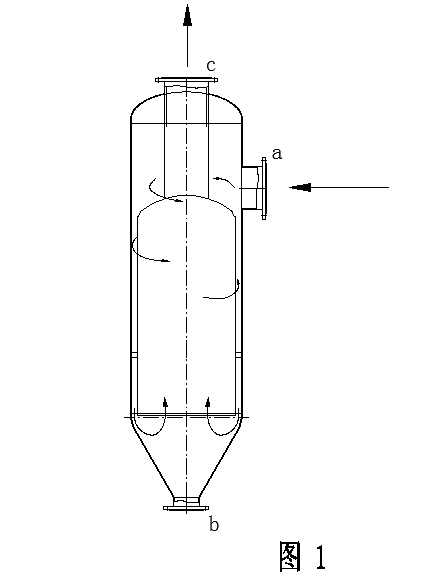
1、工作原理(如图1):
发酵(夹带液体)的汽体从a进口进入气液分离器的壳体内;进口上部的腔体设计得较大、能在短时间容纳大量的汽体,在切线进口的引导下,汽体顺着壳体的内壁产生自上向下的旋转运动、发酵液则被分离到了内壁上,在重力的作用下,顺着锥体向下经过b回流口回流入发酵罐。而气体部分则在压力的推动下,从内筒体的下端而向上运动、经c排气口排出(出发酵罐)。
1、工作原理(如图1):
发酵(夹带液体)的汽体从a进口进入气液分离器的壳体内;进口上部的腔体设计得较大、能在短时间容纳大量的汽体,在切线进口的引导下,汽体顺着壳体的内壁产生自上向下的旋转运动、发酵液则被分离到了内壁上,在重力的作用下,顺着锥体向下经过b回流口回流入发酵罐。而气体部分则在压力的推动下,从内筒体的下端而向上运动、经c排气口排出(出发酵罐)。

2、GQF型气液分离器的优点:
GQF型气液分离器是本公司近二年来的改进型新产品,主要优点为:
(1)气液分离器的结构进行了优化;将内筒体的上部做成比较小、使与外筒体的空间增大,以满足发酵罐(短期)会产生大量气泡的工况下,仍具有良好的气液分离效果。
(2)内筒体与外筒体的中、下部通道适当变小,可提高汽体在通道中的流速、以提高气液分离效果。
(3)适当延长内筒体的长度(与老装置同比),以增加气液分离效果。
(4)改进后的分离器已去除原有的“回流管、内阻挡板”等部件,可减少设备积料、残留等现象,可免除设备本身染菌的几率。
(5)内筒体的上部设计成封头形式、可确保无积料现象;筒体的内部无“死角、焊瘤”现象,确保设备内部无残留现象。
(6)分离器的内部(所有物料接触部)全部“镜面精抛”、可确保物料在筒体内无残留。
(7)由于改进后的分离器结构简单、内部“无死角、无阻挡板”等现象,因此在发酵罐整体消毒的同时,可彻底地完成对分离器的消毒(灭菌)、并不会有残留存在现象。
二、安装要求和使用、消毒等要求
1、按图2所示;将气液分离器安装在发酵罐的顶部,并对应图纸上标的各种管口、管道、阀门进行连接。
2、气液分离器的各种法兰垫片均采用四氟乙烯的材质。
3、气液分离器的出气口后面须配阀门(用户另行安装),阀门高度必须低于分离器的出气口高度。
4、气液分离器回流管插入发酵罐内的深度>罐体长度1 /2。
5、当对发酵罐进行消毒时,须将气液分离器的排气口阀门关闭、直至消毒过程完成时。
6、本装置依物理原理设计,无运动部件、因此无易损配件。
GQF型气液分离器是本公司近二年来的改进型新产品,主要优点为:
(1)气液分离器的结构进行了优化;将内筒体的上部做成比较小、使与外筒体的空间增大,以满足发酵罐(短期)会产生大量气泡的工况下,仍具有良好的气液分离效果。
(2)内筒体与外筒体的中、下部通道适当变小,可提高汽体在通道中的流速、以提高气液分离效果。
(3)适当延长内筒体的长度(与老装置同比),以增加气液分离效果。
(4)改进后的分离器已去除原有的“回流管、内阻挡板”等部件,可减少设备积料、残留等现象,可免除设备本身染菌的几率。
(5)内筒体的上部设计成封头形式、可确保无积料现象;筒体的内部无“死角、焊瘤”现象,确保设备内部无残留现象。
(6)分离器的内部(所有物料接触部)全部“镜面精抛”、可确保物料在筒体内无残留。
(7)由于改进后的分离器结构简单、内部“无死角、无阻挡板”等现象,因此在发酵罐整体消毒的同时,可彻底地完成对分离器的消毒(灭菌)、并不会有残留存在现象。
二、安装要求和使用、消毒等要求
1、按图2所示;将气液分离器安装在发酵罐的顶部,并对应图纸上标的各种管口、管道、阀门进行连接。
2、气液分离器的各种法兰垫片均采用四氟乙烯的材质。
3、气液分离器的出气口后面须配阀门(用户另行安装),阀门高度必须低于分离器的出气口高度。
4、气液分离器回流管插入发酵罐内的深度>罐体长度1 /2。
5、当对发酵罐进行消毒时,须将气液分离器的排气口阀门关闭、直至消毒过程完成时。
6、本装置依物理原理设计,无运动部件、因此无易损配件。

上一篇:说说流体对钛换热器有哪些影响?
下一篇:空冷器
相关产品






